
Apa itu Aanstamping dan Bagaimana Cara Pemasangannya | Pengadaan (Eprocurement)

√ Apa Itu Aanstamping : Fungsi, Ukuran, Cara Hitung & Pemasangan
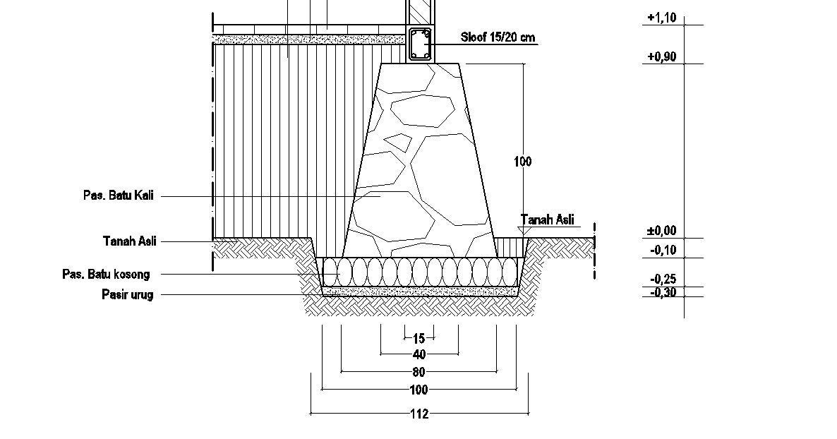
AzmiW: BAGIAN PONDASI BATU KALI

Standart Pondasi Batu kali untuk rumah tinggal | Home Design and Ideas

√ Apa Itu Aanstamping : Fungsi, Ukuran, Cara Hitung & Pemasangan
Mengenal Dasar Bangunan

√ Apa Itu Aanstamping : Fungsi, Ukuran, Cara Hitung & Pemasangan

comunitas civil: PONDASI BATU KALI

setyoprabowo123

Pondasi Batu Kali : Metode Pelaksanaan, Ukuran Dan Gambarnya

Inilah Cara Menghitung Volume Pondasi Batu Kali !!!! | by bayu saputra | Medium

Cara menghitung volume pondasi batu kali - KUMPUL ENGINEER
Modul Batu Kali | PDF

Pondasi Batu Kali (Detail Gambar, Ukuran Dan Metode Pelaksanaan)
Inilah Aanstamping Pondasi Beton - Pondasi Beton
0 Konstruksi Rumah Sederhana

PONDASI BANGUNAN GEDUNG - Info Infrastruktur pada umumnya, bangunan, jasa konstruksi & tata ruang

Bagian Pondasi Batu Kali dan Fungsinya ~ Area TEKNIK SIPIL
Inspiration Fungsi Pasangan Batu Kosong Pada Pondasi Pondasi Beton - Pondasi Beton

Standart Pondasi Batu kali untuk rumah tinggal | Home Design and Ideas

Metode Pelaksanaan Pondasi Batu Kali - IlmuTeknikSipil.com

Jasa Pembersih Kaca Gedung, Interior Design, & Perawatan Bangunan | Inland

Metode Pelaksanaan Pondasi Batu Kali - IlmuTeknikSipil.com

Mengenal Pondasi Batu Kali dan Bagian-bagian Penyusunnya - Arafuru

PONDASI BATU KALI. Kompetensi Dasar (KD) 3.5 Menerapkan tahapan-tahapan pelaksanaan pekerjaan pondasi 4.5 Melaksanakan pekerjaan pondasi. - ppt download

Metode Pelaksanaan Pekerjaan Pasangan Batu Kosong - Kerkuse

Mengenal Pondasi Batu Kali dan Bagian-bagian Penyusunnya - Arafuru

Merencanakan dan menentukan ukuran pondasi batu kali | ArsiNote

Pondasi Batu Kali : Metode Pelaksanaan, Ukuran Dan Gambarnya
Uas TKBB | PDF

Metode Pelaksanaan Pondasi Batu Kali - Konstruksi Sipil

MATERI KULIAH PONDASI BATU KALI - tekniksipil.org
PEMBANGUNAN RUMAH TEMPAT TINGGAL DI TEPI SUNGAI SEBAGAI TEMPAT PEMBUANGAN SAMPAH DENGAN FONDASI BATU KALI (STUDI KASUS: MLANDI
Macam Macam Pondasi | PDF

Pemasangan pondasi garis dengan batu kosong anti gempa - YouTube
Inilah Cara Menghitung Volume Pondasi Batu Kali !!!! | by bayu saputra | Medium

Metode Pelaksanaan Pondasi Batu Kali - IlmuTeknikSipil.com

Terupdate Pengertian Aanstamping Dan Fungsinya Pondasi Beton - Pondasi Beton

viewAanstamping atau biasa juga disebut pasangan batu kosong adalah elemen penyalur beban setelah pondasi, aanstamping ini terbuat dari batu bulat yang kemudian disusun horizontal

Keren Gambar Pasangan Batu Kosong, Inspirasi Penting!
adalah

PONDASI BATU KALI JASA PASANG JAKARTA DAN SEKITAR

Bab vii spektek kejari
Engineering - Fungsi pasangan batu kosong atau Aanstamping… | Facebook

KONSTRUKSI PONDASI

Studi Kasus Pondasi
Konstruksi dari pondasi langsung dapat berupa pondasi batu belah/kali, pondasi batu bata, pondasi beton bertulang, pondasi pias,
![]()
BAHAN_MAKALAH_TENTANG_PONDASI_BANGUNAN.pdf - JENIS-JENIS PONDASI BANGUNAN(PONDASI BATU KALI PONDASI BATU BATA PONDASI BETON TUMBUK PONDASI BETON | Course Hero

Materi Belajar Pemasangan Pondasi Batu Kali – Sloof – Kolom – Dinding – Lantai – KARYAGURU CENTER

MODUL AJAR PONDASI DANGKAL. (Pondasi Menerus, Pondasi Setempat & Pondasi Rakit/Pelat) - PDF Download Gratis
![]()
DOC) Batu kali | Hola Kristina - Academia.edu
Materi 10 - Pekerjaan Pondasi | PDF

viewAanstamping atau biasa juga disebut pasangan batu kosong adalah elemen penyalur beban setelah pondasi, aanstamping ini terbuat dari batu bulat yang kemudian disusun horizontal
PEMBANGUNAN RUMAH TEMPAT TINGGAL DI TEPI SUNGAI SEBAGAI TEMPAT PEMBUANGAN SAMPAH DENGAN FONDASI BATU KALI (STUDI KASUS: MLANDI

Keren Gambar Pasangan Batu Kosong, Inspirasi Penting!
a: 02/01/2011 - 03/01/2011

Cara menghitung volume pondasi jalur lengkap dengan material

FUNGSI PASANFAN BATU KOSONG “AANSTAMPING” BAWAH PONDASI - YouTube

Metode Pelaksanaan Pondasi Batu Kali
KBG-PONDASI DANGKAL

Pondasi Batu Kali : Metode Pelaksanaan, Ukuran Dan Gambarnya
Uas TKBB | PDF

Download Gambar Rencana Pondasi dan Detail Pondasi DWG AutoCAD | Betantt.com

ONBORDES: pekerjaan Pondasi Batu Kali
Engineering - Fungsi pasangan batu kosong atau Aanstamping… | Facebook

MODUL AJAR PONDASI DANGKAL. (Pondasi Menerus, Pondasi Setempat & Pondasi Rakit/Pelat) - PDF Download Gratis
Pelaksanaan Dan Pengawasan Konstruks Dan Properti | PDF
PEMBANGUNAN RUMAH TEMPAT TINGGAL DI TEPI SUNGAI SEBAGAI TEMPAT PEMBUANGAN SAMPAH DENGAN FONDASI BATU KALI (STUDI KASUS: MLANDI
PEMBANGUNAN RUMAH TEMPAT TINGGAL DI TEPI SUNGAI SEBAGAI TEMPAT PEMBUANGAN SAMPAH DENGAN FONDASI BATU KALI (STUDI KASUS: MLANDI

Konstruksi Bangunan Gedung: Memasang Pondasi Batu Belah
Konstruksi Pondasi | PDF

Standart Pondasi Batu kali untuk rumah tinggal | Home Design and Ideas

Soal konstruksi worksheet
![]()
Contoh Soal Konstruksi Pilihan Ganda

SNI - Pasangan Batu

Uncategorized | Dionsevenfold7’s Blog
Uas TKBB | PDF
![]()
LAPORAN PONDASI BATU KAL1 Bryan.doc - LAPORAN PONDASI BATU KALI Disusun oleh Bryan Lorenzt Angelo Nim 173956 Universitas Kristen Palangka Raya BAB I | Course Hero

√ Apa Itu Aanstamping : Fungsi, Ukuran, Cara Hitung & Pemasangan

Materi Belajar Pemasangan Pondasi Batu Kali – Sloof – Kolom – Dinding – Lantai – KARYAGURU CENTER

Metoda pelaksanaan

Metode Pelaksanaan Pondasi Batu Kali
aanstamping atau dalam istilah bangunannya susunan batu kosong tanpa mortar (adukan semen dan pasir). Aanstamping disusun dibawa
Metode Pelaksanaan Pondasi Batu Kali | PDF

Cara menghitung Pondasi Batu Kosong atau Aanstamping - YouTube

Pekerjaan Pondasi dan Pemasangan Sloof dari Galian Tanah Urugan Pasir

Pekerjaan Pondasi dan Pemasangan Sloof dari Galian Tanah Urugan Pasir

Cara menghitung Pondasi Batu Kosong atau Aanstamping - YouTube
- Adukan untuk pasangan atau plesteran agar kedap air adalah: A. 1 Sp : 2 Ps B. 1 Sp : ½ Kp : 3 Ps. C. 1 Kp : 1 Sm : 1 Ps. D

MODUL AJAR PONDASI DANGKAL. (Pondasi Menerus, Pondasi Setempat & Pondasi Rakit/Pelat) - PDF Download Gratis

Pondasi Batu Kali : Metode Pelaksanaan, Ukuran Dan Gambarnya

Artikel Tips dan Trik mengenai Pelaksanaan Pondasi Batu Kali
Soal Kosbang | PDF

GAMBAR KONSTRUKSI BANGUNAN SEMESTER 3 - PDF Free Download
Engineering - Fungsi pasangan batu kosong atau Aanstamping… | Facebook
KONSTRUKSI PONDASI 9.1 Konstruksi Pondasi Batu Kali atau Rollaag Konstruksi pondasi ini merupakan bagian dari konstruksi banguna

SMKN 1 Gambut - Pengertian Pondasi

Muslim Sejahtera Enterprise: PANDUAN PONDASI BATU KALI SERTA PERHITUNGAN R.A.B
Spekteknis Inst

Metode Pelaksanaan Pekerjaan Pasangan Batu Kosong - Kerkuse